報非全日制研究生,考生最關心、最在意的是什么?專業和學校當然要居于榜首。為了這個問題不再成為非全日制研究生考生的問題,下面就手把手教大家如何查詢非全日制研究生招生院校及專業,解決大家的問題。
研招網查詢
中國研究生招生信息網,簡稱“研招網”,隸屬于教育部的以考研為主題的官方網站,是教育部唯一指定的研究生入學考試網上報名及調劑網站,主要提供研究生網上報名及調劑、專業目錄查詢、在線咨詢、院校信息、報考指南和考試輔導等多方面的服務和信息指導。
因此,在研招網是可以查詢各院校招生專業的。具體查詢方法如下:
(一)專業查詢
1、進入中國研究生招生信息網碩士專業目錄查詢頁面如下圖:
(網址:http://yz.chsi.com.cn/zsml/zyfx_search.jsp)

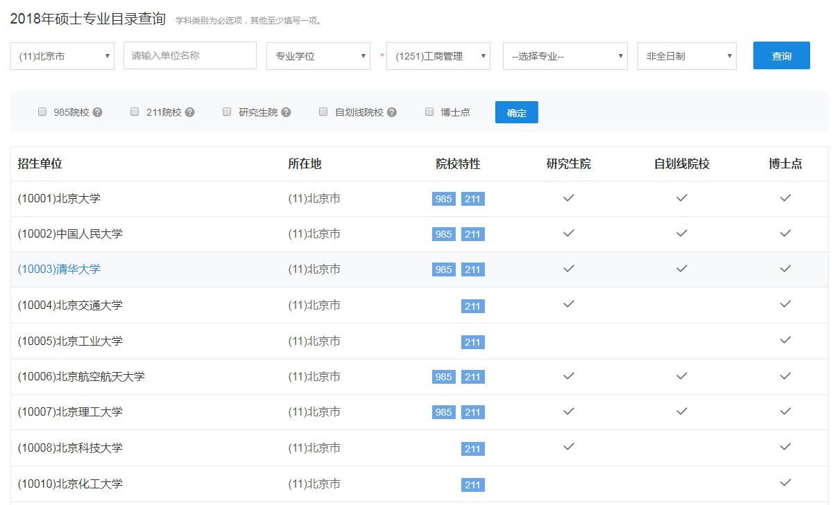
2、按照提示選擇想要查詢的地區、專業、學校等信息(注意紅框中的提醒)
以北京地區的工商管理專業學位為例:(選擇學習方式的時候一定要選擇“非全日制”)

下圖就是查詢到的結果,可見工商管理專業招生學校是很多的,點擊具體學校還能了解招生詳情。

3、這里以北京大學為例,可以了解到開辦院校、具體方向、招生人數、考試范圍等信息。

提醒:工商管理專業的招生學校是比較多的,如果遇到一個沒有查詢結果的專業,說明該地區、該專業是沒有非全日制研究生的。
比如北京地區的哲學專業:
查詢條件:

查詢結果:

(二)院校查詢
同樣是利用研招網碩士專業目錄查詢,不過這次我們要輸入具體的學校、專業。以人大的法律碩士為例:

查詢結果:

注意:跟上面一樣,如果沒有數據,說明該校該專業不招非全日制研究生。
如果以上方法沒有幫助你,你可以打電話線上咨詢陜西文都老師,這里的老師夠專業,能幫你快速找到適合你的專業和院校!
以上是小編為大家整理的“非全日制研究生招生院校和專業如何查詢?這個方法很簡單”的相關內容,如有疑問,可咨詢在線老師!
(免責聲明:本站所提供的內容均來源于網友提供或網絡搜集,由本站編輯整理,僅供個人研究、交流學習使用,不涉及商業盈利目的。如涉及版權問題,請聯系本站管理員予以更改或刪除。)