2019全國研究生招生考試初試成績已于今日(2月15號)陸續公布,預計2019年研究生考試國家線在3月中旬公布,研究生考試國家線公布后,各位考生一定要及時查看自己的初試成績是否過了國家線的基本分數要求。今天小編給大家整理了關于根據近九年的考研國家線趨勢預計2019考研國家線于3月中旬出的知識點,如有需要及時加入陜西文都19考研交流群。
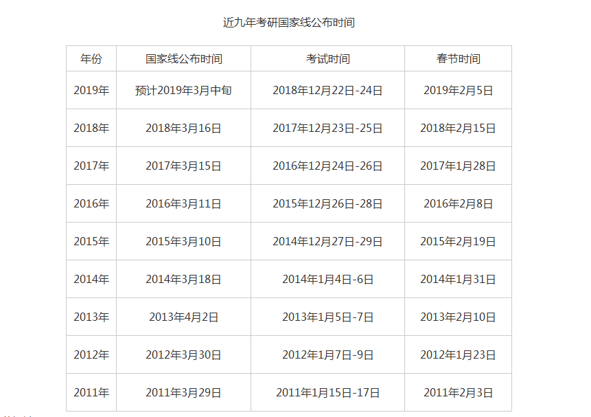
【2019年碩士研究生招生考試成績陸續公布】截至目前,全國多所招生單位公布初試成績,請點擊此鏈接(http://gmis.xjtu.edu.cn/zsbm/ssks/cscjcx),進入“2019年碩士研究生招生初試成績查詢”界面或登錄“中國研究生招生信息網”(http://yz.chsi.com.cn)查詢。接下來給文都考研小編給大家整理近九年的考研國家線的公布時間,僅供各位參考。

上面就是給大家整理的根據近九年的考研國家線趨勢預計2019考研國家線于3月中旬出的相關內容,如有更多疑問,請及時咨詢在線老師。
?。庳熉暶鳎罕菊舅峁┑膬热菥鶃碓从诰W友提供或網絡搜集,由本站編輯整理,僅供個人研究、交流學習使用,不涉及商業盈利目的。如涉及版權問題,請聯系本站管理員予以更改或刪除。)